PCIe3 12 GB Cache RAID SAS quad-port 6 Gb Adapter (FC EJ0L; CCIN 57CE)
Learn about the specifications and operating system requirements for the feature code (FC) EJ0L adapters.
Overview
The PCI Express (PCIe) generation 3, 12 GB Cache RAID SAS quad-port 6 Gb Adapter is a large cache PCIe3 SAS adapter that provides high-performance capabilities and supports the attachment of serial-attached SCSI (SAS) disks and SAS solid-state drives (SSDs) through four mini SAS high-density (HD) connectors. The feature code (FC) EJ0L has up to a 12 GB write-cache via compression. The adapter is a 64 bit, 3.3 V, bootable SAS adapter that supports RAID levels 0, 5, 6, 10, 5T2, 6T2, and 10T2 as well as system level mirroring via the operating system. The adapter must be installed in pairs and must be used in a high availability, multi-initiator RAID configuration with two adapters in dual-controller mode (dual storage IOA configuration). Two FC EJ0L adapters provide additional performance and adapter redundancy with mirrored write-cache data and mirrored RAID parity footprints between the adapters. If the FC EJ0L pairing is broken, then the write cache is disabled. Integrated flash memory with capacitors provides protection of the write cache in case of power failure, without the need for batteries as were used with some previous large cache adapters.
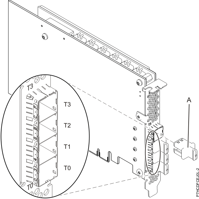
Figure 1 shows the PCIe3 12 GB Cache RAID SAS quad-port 6 Gb adapter. The connector plug (A) is installed in an empty port and prevents damage to that port whenever a cable for the adjacent port connectors is plugged-in or removed.

To provide the highest bandwidth between two paired feature EJ0L adapters for the mirroring of cache data and parity update footprints, two SAS Adapter-to-Adapter (AA) cables are required by default on the third and fourth adapter ports (T2, T3) until maximum device quantity attachment is required. When all connectors are attaching SAS drives, the communication between the adapter pair is performed through the SAS fabric via the I/O drawers and cabling.
The FC EJ0L is a single wide, full-height, short adapter. Figure 1 shows the FC EJ0L adapter. Every FC EJ0L requires another FC EJ0L on this server, or on another server, which pairs with the SAS RAID adapter and enables cache functionality and the other multi-initiator high availability (dual storage IOA) functions. Best performance is achieved when multiple RAID sets are configured and optimized under a pair of adapters in a high availability, multi-initiator RAID configuration (dual storage IOA) which allows for an Active-Active mode of operation.
Systems running the AIX® or Linux operating systems support either having both EJ0L features in the same system or partition, or in two separate systems or partitions. Systems running the IBM® i operating system do not support the pairing of adapters on different servers or different partitions, so both the EJ0L features must be installed on the same system and partition. The dual controllers support the Easy Tier® function that enables the controllers to automatically move hot data to attached SSDs and cold data to attached HDDs in the AIX or Linux systems.
For details about slot priorities and placement rules, see PCIe adapter placement rules and slot priorities and select the system you are working on.
Specifications
- Item
- Description
- Adapter FRU number
- 00FX840 (Designed to comply with RoHS requirement)
- Connector plug part number
- 00FW784 (The connector plug is installed in an empty port and prevents damage to that port whenever a cable for the adjacent port connectors is plugged-in or removed.)
- I/O bus architecture
- PCIe 3.0 but downward compatible to 2.0 and 1.0
- Slot requirement
- One PCIe x8 slot per adapter.
- Adapters are installed in pairs.
- For higher availability, place adapters in separate enclosures where supported.
- Cables
- Specific X , YO, AA, or AT SAS cable features with new narrow HD connectors are used to attach to the other adapter or expansion drawers.
- SAS device attachment requires specific cables that are provided with the subsystem or device features being attached. Special cabling is required for multi-initiator and high availability configurations. See Serial attached SCSI cable planning.
- Voltage
- 3.3 V
- Form factor
- Short, full-height
- Maximum number
- For details about the maximum number of adapters that are supported, see PCIe adapter placement rules and slot priorities and select the system you are working on..
- Attributes provided
- Support of the SAS Serial SCSI Protocol (SSP) and Serial Management Protocol (SMP).
- Provides RAID 0, RAID 5, RAID 6, and RAID 10 with hot-spare capability. System level mirroring through the operating system is also supported. JBOD functionality (512 byte) is not supported except for the initial formatting to 528 bytes of new devices, as required.
- Double looping of the I/O enclosure system connection is suggested to enhance performance when more than four adapters are installed in either FC 5803 or FC 5873.
Operating system or partition requirements
If you are installing a new feature, ensure that you have the software that is required to support the new feature and that you determine whether any prerequisites must be met for this feature and attaching devices. To check for the prerequisites, see IBM Prerequisite website.
- AIX
- AIX 7.1, or later
- AIX Version 6.1, or later
- Linux
- Red Hat Enterprise Linux Version 7, or later, with current maintenance updates available from Red Hat.
- Red Hat Enterprise Linux Version 6.4, or later, with current maintenance updates available from Red Hat.
- SUSE Linux Enterprise Server 11, Service Pack 3, or later, with current maintenance updates available from SUSE.
- The latest version of the device driver or iprutils can be downloaded from the IBM Service and Productivity Tools website.
- IBM i
- IBM i Version 7.1, or later
- IBM i Version 6.1, or later
- Supported on Firmware level 7.8, or later.
- AIX: devices.pci.14104A0 device driver package
Other important requirements for adapter installation
- If you are attaching a new or existing FC 5887 to an FC EJ0L adapter, verify that the latest System Enclosure Services (SES) code is applied to the FC 5887 before attaching to the FC EJ0L adapter, see the IBM Prerequisites website.
- If you are migrating existing SAS disk enclosures and devices from existing previous PCIe SAS adapters to PCIe2 or PCIe3 SAS adapters, an automatic sector conversion takes place for use with the new adapters. For information about the migrating procedures, see Upgrading the adapter in the POWER7® IBM Knowledge Center.
