PCIe2 4-Port (10 Gb + 1 GbE) SR+RJ45 Adapter (FC EN0S; CCIN 2CC3)
Learn about the specifications and operating system requirements for the feature code (FC) EN0S adapter.
Overview
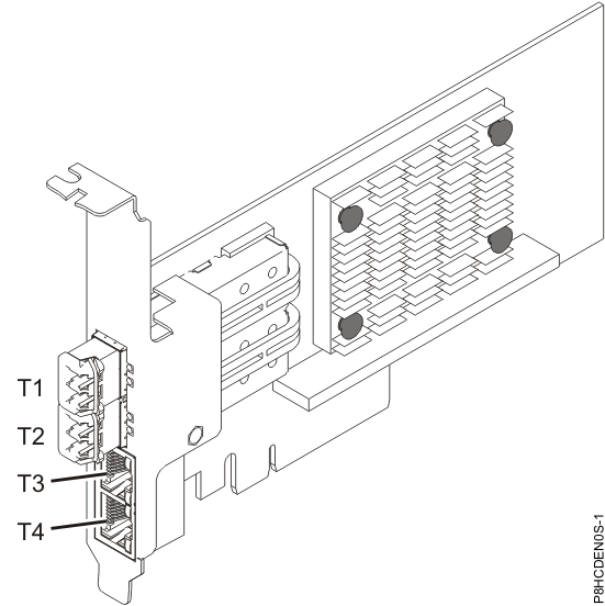
The PCIe2 4-Port (10 Gb + 1 GbE) SR+RJ45 Adapter is a PCI Express (PCIe) generation 2 (Gen2) x8, short form-factor, low-profile capable, full-height adapter. The adapter provides two 10 Gb SR optical ports and two 1 Gb RJ45 ports. This adapter provides a PCIe 2.0 host bus interface. The adapter supports the Ethernet network interface controller (NIC) function. The adapter is a high-performance adapter that consolidates traffic for networking. The link aggregation and failover features of the adapter make it suitable for critical network applications that require redundancy and high availability.
The four-port adapter provides two 10 Gb small form-factor pluggable (SFP+) optical SR transceiver ports and two 1 Gb RJ45 Ethernet ports. The two 10 Gb SR ports have little connector (LC) duplex-type connectors. The optical transceiver uses shortwave laser optics and is attached with MMF-850nm fiber cabling with LC connectors. See Cables for more information about the optical cables. Each 10 Gb port provides Ethernet connectivity with a nominal data rate of 10 Gbps (gigabits per second). Figure 1 shows the FC EN0S adapter.
Each of the 1 Gb RJ45 port provides Ethernet connectivity at a data rate of 1 Gbps. Each of the 1 Gb ports is connected with a 4-pair, CAT-5 unshielded twisted pair (UTP) cable or with a cable of higher specification, and is supported for distances of up to 100 meters. In addition to 1 Gb (1000 Mb) networks, 100 Mb networks are also supported.
- The adapter is a PCIe2 NIC network convergence adapter.
- The 10 Gb SR ports can function in the NIC mode.
- The adapter can be used as the host local area network (LAN) adapter.
- The adapter supports interrupt moderation to deliver increased performance while significantly reducing processor utilization
- The adapter supports dual port operation in any PCIe2 slot
- The adapter supports auto-negotiation, full-duplex only.
- The adapter supports multiple media-access control (MAC) per interface.
- The adapter supports integrated media-access control (MAC) and physical layer (PHY).
- The adapter supports the following standards for the different
ports and functions:
- IEEE 802.3ae in the 10 GbE ports
- 802.3ab in the 1 GbE ports
- Ether II and IEEE 802.3 for encapsulated frames
- 802.1p for setting up priority levels in tagged VLAN frames
- 802.1Q for VLAN tagging
- 802.3x for flow control
- 802.3ad for load-balancing and failover
- IEEE 802.3ad and 802.3 for link aggregation
- The adapter provides message signal interrupts (MSI), MSI-X, and support of legacy pin interrupts.
- The adapter supports jumbo frames up to 9.6 KB.
- The adapter supports gigabit EtherChannel (GEC) with the existing software.
- The adapter supports TCP checksum offload transmission control protocol (TCP), user datagram protocol (UDP), TCP segmentation Offload (TSO) for IPv4 and IPv6.
- Supports TCP segmentation or large send offload
- Supports EEPROM-SPI and single EEPROM
- Compliant with European Union Directive 2002/95/EC on the Restriction of the Use of Certain Hazardous Substances in Electrical and Electronic Equipment

Specifications
- Item
- Description
- Adapter FRU number
- 00E2715 (Designed to comply with RoHS requirement)
- Regular-height tailstock part number: 00E2863
- Low-profile tailstock part number: 00E2720
- Wrap plug FRU number
- 12R9314 (SFP+ SR wrap plug)
- 10N7405 (1 Gb UTP wrap plug)Note: These wrap plugs are not included with the card. 12R9314 (FC ECW0) is the only wrap plug that can be purchased from IBM.
- I/O bus architecture
- PCIe2 x8
- Slot requirement
- For details about slot priorities and placement rules, see PCIe adapter placement rules and slot priorities and select the system you are working on.
- Cables
- See Cables for details.
- Voltage
- 3.3 V
- Form factor
- Short, with full-height tailstock
- Low-profile capable
- Maximum number
- For details about the maximum number of adapters that are supported, see PCIe adapter placement rules and slot priorities and select the system you are working on.
Cables
- OM3 or OM4: Multimode 50/125 micron fiber, 2000 MHz x km bandwidth
- OM2: Multimode 50/125 micron fiber, 500 MHz x km bandwidth
- OM1: Multimode 62.5/125 micron fiber, 200 MHz x km bandwidth
| Header | Cable Type and Distance | ||
|---|---|---|---|
| Rate | OM1 | OM2 | OM3 |
| 10 Gbps | 0.5 meters to 33 meters (1.64 feet to 108.26 feet) | 0.5 meters to 82 meters (1.64 feet to 269.02 feet) | 0.5 meters to 300 meters (1.64 feet to 984.25 feet) |
Operating system or partition requirements
If you are installing a new feature, ensure that you have the software that is required to support the new feature and that you determine whether any prerequisites must be met for this feature and attaching devices. To check for the prerequisites, see IBM Prerequisite website.
- AIX
- AIX 7.1with the 7100-03 Technology Level and Service Pack 3, or later
- AIX 6.1, Technology Level 9, Service Pack 2, or later
- Linux
- Red Hat Enterprise Linux Version 7.1, or later
- Red Hat Enterprise Linux Version 7.1, little endian, or later
- Red Hat Enterprise Linux Version 6.6, or later
- SUSE Linux Enterprise Server 11, Service Pack 4, or later
- SUSE Linux Enterprise Server 12, or later
- Ubuntu Server 16.04, or later
- Ubuntu Server 14.04.3, or later
- IBM i
- IBM i is supported only with VIOS
- AIX: devices.pciex.e4148a1614109304 for SFP+ optical ports and devices.pciex.e4148a1614109404 for RJ45 ports
- Linux: bnx2x driver
- The latest version of the device driver or iprutils can be downloaded from the IBM Service and Productivity Tools website.
