Use this table to compare the features of the various PCI Express® 2.0 (PCIe2) SAS RAID cards for IBM® i.
| CCIN (custom card identification number) | 57B5 |
|---|---|
| Description | PCIe2 1.8 GB Cache RAID SAS adapter Tri-port 6 Gb |
| Form factor | PCIe2 x8 |
| Adapter failing function code LED value | 2D20 |
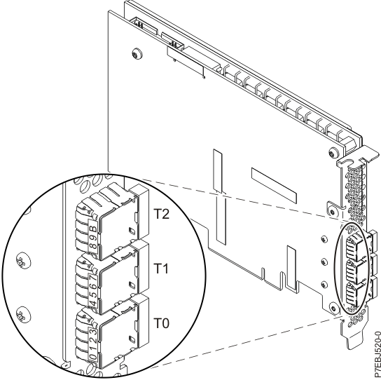
| Physical links | 11 (three mini SAS HD 4x connectors with top connector containing only three physical links) |
| RAID levels supported | RAID 5, RAID 6, system mirroring |
| Write cache size | 1.8 GB |
| Read cache size | |
| Cache battery pack technology | None (uses supercapacitor technology) |
| Cache battery concurrent maintenance | |
| Cache data present LED | |
| Removable cache card | |
| Auxiliary write cache (AWC) support | No |
| Dual-storage IOA configuration | Yes |
| Requires dual storage IOA configuration | Yes |
Remember the following points while working with the CCIN 57B5 adapters:
