PCIe2 4-port (10 Gb + 1 GbE) Copper SFP+RJ45 Adapter (FC EN0U and FC EN0V; CCIN 2CC3)
Learn about the specifications and operating system requirements for the feature code (FC) EN0U and FC EN0V adapter.
Overview
- The FC EN0U is a short, full height Copper SFP adapter.
- The FC EN0V is a short, low-profile Copper SFP adapter.
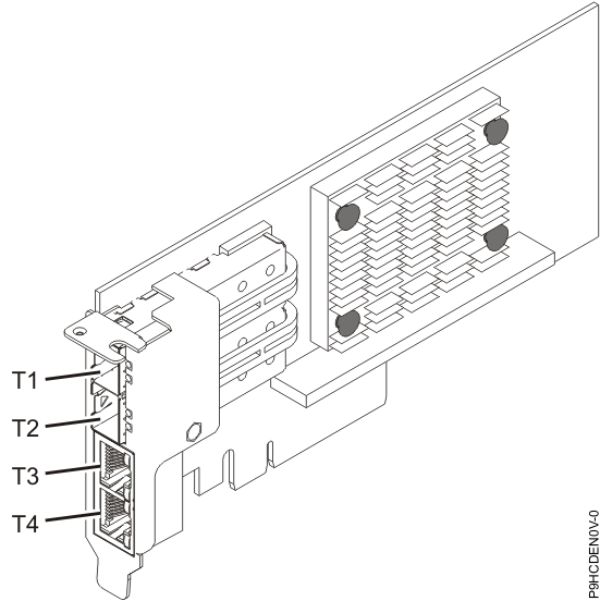
The two 10 Gb are SFP+ and do not include a transceiver. Active Copper twinax cables up to 5 meter in length are supported such as provided by feature codes EN01, EN02 or EN03. A transceiver is included with these cables. See Cables for details. Each 10 Gb port provides Ethernet connectivity with a nominal data rate of 10 Gbps (gigabits per second). Figure 1 shows the FC EN0U adapter. Figure 2 shows the FC EN0V adapter.
Each of the 1 Gb RJ45 port provides Ethernet connectivity at a data rate of 1 Gbps. Each of the 1 Gb ports is connected with a 4-pair, CAT-5 unshielded twisted pair (UTP) cable or with a cable of higher specification, and is supported for distances of up to 100 meters. In addition to 1 Gb (1000 Mb) networks, 100 Mb networks are also supported.
- The adapter is a PCIe2 NIC network convergence adapter.
- The 10 Gb ports can function in the NIC mode.
- The adapter can be used as the host local area network (LAN) adapter.
- The adapter supports interrupt moderation to deliver increased performance while significantly reducing processor utilization.
- The adapter supports dual port operation in any PCIe2 or greater slot.
- The adapter supports auto-negotiation, full-duplex only.
- The adapter supports multiple media-access control (MAC) per interface.
- The adapter supports integrated media-access control (MAC) and physical layer (PHY).
- The adapter supports the following standards for the different
ports and functions:
- IEEE 802.3ae in the 10 GbE ports
- 802.3ab in the 1 GbE ports
- Ether II and IEEE 802.3 for encapsulated frames
- 802.1p for setting up priority levels in tagged VLAN frames
- 802.1Q for VLAN tagging
- 802.3x for flow control
- 802.3ad for load-balancing and failover
- IEEE 802.3ad and 802.3 for link aggregation
- The adapter provides message signal interrupts (MSI), MSI-X, and support of legacy pin interrupts.
- The adapter supports jumbo frames up to 9.6 KB.
- The adapter supports gigabit EtherChannel (GEC) with the existing software.
- The adapter supports TCP checksum offload transmission control protocol (TCP), user datagram protocol (UDP), TCP segmentation Offload (TSO) for IPv4 and IPv6.
- Supports TCP segmentation or large send offload
- Supports EEPROM-SPI and single EEPROM


Specifications
- Item
- Description
- Adapter FRU number
- 02JD574
- Wrap plug FRU number
- 74Y7010 (Twinax wrap plug)
- I/O bus architecture
- PCIe2 x8
- Slot requirement
- For details about slot priorities, maximums, and placement rules, see PCIe adapter placement rules and slot priorities and select the system you are working on.
- Voltage
- 3.3 V
- Form factor
- Short, with full-height tailstock (FC EN0U)
- Cables
- See Cables for details.
Cables

| Cable length | Feature code | CCIN | Part number |
|---|---|---|---|
| 1 m (3.28 ft) | EN01 | EF01 | 46K6182 |
| 3 m (9.84 ft) | EN02 | EF02 | 46K6183 |
| 5 m (16.4 ft) | EN03 | EF03 | 46K6184 |
Operating system or partition requirements
- The latest version of enabling libraries and utilities can be downloaded from the Fix Central website.
- Power Systems Prerequisites website.
- IBM System Storage Interoperation Center (SSIC) website.
- The latest version of the device driver or IBM Power® RAID adapter utilities (iprutils) can be downloaded from the IBM Service and Productivity Tools website.
- For information about important notices for Linux on IBM Power Systems, see the Linux® on IBM website.
- AIX®: devices.pciex.e4148a1614109304 for SFP+ optical ports and devices.pciex.e4148a1614109404 for RJ45 ports
- Linux: bnx2x driver