PCIe2 4-port (10 Gb + 1 GbE) SR +RJ45 adapter (FC EN0S and FC EN0T; CCIN 2CC3)
Learn about the specifications and operating system requirements for the feature code (FC) EN0S and FC EN0T adapters.
Overview
- The FC EN0S is a short, full height SR adapter.
- The FC EN0T is a short, low-profile SR adapter.
The adapter provides two 10 Gb SR optical ports and two 1 Gb RJ45 ports. This adapter provides a PCIe 2.0 host bus interface. The adapter supports the Ethernet network interface controller (NIC) function. The adapter is a high-performance adapter that consolidates traffic for networking. The link aggregation and failover features of the adapter make it suitable for critical network applications that require redundancy and high availability.
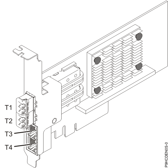
The four-port adapter provides two 10 Gb small form-factor pluggable (SFP+) optical SR transceiver ports and two 1 Gb RJ45 Ethernet ports. The two 10 Gb SR ports have little connector (LC) duplex-type connectors. The optical transceiver uses shortwave laser optics and is attached with MMF-850nm fiber cabling with LC connectors. See Cables for more information about the optical cables. Each 10 Gb port provides Ethernet connectivity with a nominal data rate of 10 Gbps (gigabits per second). Figure 1 shows the FC EN0S and FC EN0U adapter. Figure 2 shows the FC EN0T and FC EN0V adapter.
Each of the 1 Gb RJ45 port provides Ethernet connectivity at a data rate of 1 Gbps. Each of the 1 Gb ports is connected with a 4-pair, CAT-5 unshielded twisted pair (UTP) cable or with a cable of higher specification, and is supported for distances of up to 100 meters. In addition to 1 Gb (1000 Mb) networks, 100 Mb networks are also supported.
- The adapter is a PCIe2 NIC network convergence adapter.
- The 10 Gb SR ports can function in the NIC mode.
- The adapter can be used as the host local area network (LAN) adapter.
- The adapter supports interrupt moderation to deliver increased performance while significantly reducing processor utilization.
- The adapter supports dual port operation in any PCIe2 or greater slot.
- The adapter supports auto-negotiation, full-duplex only.
- The adapter supports multiple media-access control (MAC) per interface.
- The adapter supports integrated media-access control (MAC) and physical layer (PHY).
- The adapter supports the following standards for the different ports and functions:
- IEEE 802.3ae in the 10 GbE ports
- 802.3ab in the 1 GbE ports
- Ether II and IEEE 802.3 for encapsulated frames
- 802.1p for setting up priority levels in tagged VLAN frames
- 802.1Q for VLAN tagging
- 802.3x for flow control
- 802.3ad for load-balancing and failover
- IEEE 802.3ad and 802.3 for link aggregation
- The adapter provides message signal interrupts (MSI), MSI-X, and support of legacy pin interrupts.
- The adapter supports jumbo frames up to 9.6 KB.
- The adapter supports gigabit EtherChannel (GEC) with the existing software.
- The adapter supports TCP checksum offload transmission control protocol (TCP), user datagram protocol (UDP), TCP segmentation Offload (TSO) for IPv4 and IPv6.
- Supports TCP segmentation or large send offload
- Supports EEPROM-SPI and single EEPROM


Specifications
- Item
- Description
- Adapter FRU number
- 02JD574
- Wrap plug FRU number
- 12R9314 (SFP+ SR wrap plug)
- I/O bus architecture
- PCIe2 x8
- Slot requirement
- For details about slot priorities, maximums, and placement rules, see PCIe adapter placement rules and slot priorities and select the system you are working on.
- Voltage
- 3.3 V
- Form factor
- Short, with full-height tailstock (FC EN0S)
- Cables
- See Cables for details.
Cables
- OM3 or OM4: Multimode 50/125 micron fiber, 2000 MHz x km bandwidth
- OM2: Multimode 50/125 micron fiber, 500 MHz x km bandwidth
- OM1: Multimode 62.5/125 micron fiber, 200 MHz x km bandwidth
| Header | Cable Type and Distance | ||
|---|---|---|---|
| Rate | OM1 | OM2 | OM3 |
| 10 Gbps | 0.5 meters to 33 meters (1.64 feet to 108.26 feet) | 0.5 meters to 82 meters (1.64 feet to 269.02 feet) | 0.5 meters to 300 meters (1.64 feet to 984.25 feet) |
Operating system or partition requirements
- The latest version of enabling libraries and utilities can be downloaded from the Fix Central website.
- Power Systems Prerequisites website.
- IBM System Storage Interoperation Center (SSIC) website.
- The latest version of the device driver or IBM Power® RAID adapter utilities (iprutils) can be downloaded from the IBM Service and Productivity Tools website.
- For information about important notices for Linux on IBM Power Systems, see the Linux® on IBM website.
- AIX: devices.pciex.e4148a1614109304 for SFP+ optical ports and devices.pciex.e4148a1614109404 for RJ45 ports
- Linux: bnx2x driver