PCIe3 SAS RAID card comparison
This table compares the main features of PCI Express 3.0 (PCIe3) SAS RAID cards.
| CCIN (custom card identification number) | 57B1 | 57B4 | 57CE | 57D7 | 57D8 | 57DC |
|---|---|---|---|---|---|---|
| Description | PCIe3 12 Gb Cache RAID+ SAS adapter Quad-port 6 Gb | PCIe3 RAID SAS adapter Quad-port 6 Gb x8 | PCIe3 12 GB Cache RAID SAS adapter Quad-port 6 Gb x8 | PCIe3 x8 SAS RAID internal adapter 6 Gb | PCIe3 x8 Cache SAS RAID internal adapter 6 Gb | PCIe3 x8 SAS RAID internal adapter 6 Gb |
| Form factor | PCIe3 x8 | PCIe3 x8 | PCIe3 x8 | Planar-unique PCIe3 x8 | Planar-unique PCIe3 x8 | Planar-unique PCIe3 x8 |
| Adapter failing function code LED value | 2D22 | 2D11 | 2D21 | 2D35 | 2D36 | 2D36 |
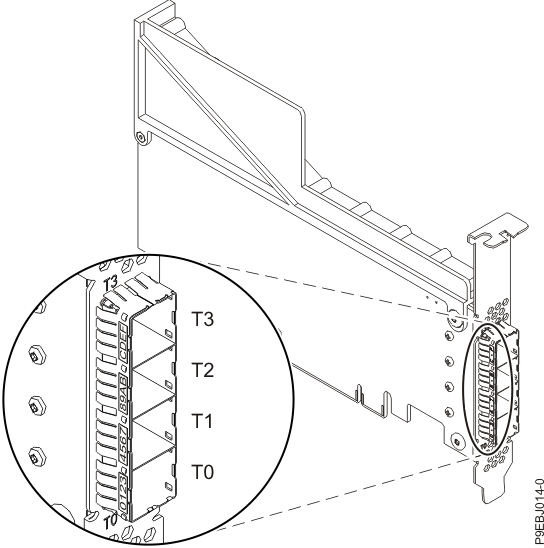
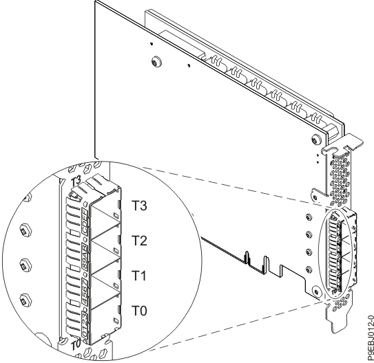
| Physical links | 16 (four mini SAS HD 4x connectors) | 16 (four mini SAS HD 4x connectors) | 16 (four mini SAS HD 4x connectors) | 16 (internal connection to directly attached SAS drives) | 16 (internal connections to directly attached SAS drives and remote adapter link) and 4 (one mini SAS HD 4x connector for external SAS attach) | 16 (internal connections to directly attached SAS drives and remote adapter link) and 4 (one mini SAS HD 4x connector for external SAS attach) |
| Supported RAID levels | RAID 0, 5, 6, 10, 5T2, 6T2, and 10T2 | RAID 0, 5, 6, 10 | RAID 0, 5, 6, 10, 5T2, 6T2, and 10T2 | RAID 0, 5, 6, 10 | RAID 0, 5, 6, 10, 5T2, 6T2, and 10T2 | RAID 0, 5, 6, 10 |
| Write cache size | Up to 12 GB (compressed) | Up to 12 GB (compressed)6 | Up to 7.2 GB (compressed)6 | Up to 7.2 GB (compressed)5 | ||
| Cache battery pack technology | None (uses supercapacitor technology) | None (uses supercapacitor technology) | None (uses supercapacitor technology) | None (uses supercapacitor technology) | ||
| Auxiliary write cache (AWC) support | No | No | No | No | No | No |
| High-availability (HA) two-system RAID | Yes | Yes7 | Yes | No | Yes | No |
| HA two-system JBOD | No | No | No | No | No | No |
| HA single-system RAID | Yes | Yes7 | Yes | No | Yes | No |
| Requires HA RAID configuration | Yes | No | Yes | No | Yes | No |
| JBOD SAS disk support | No | Yes2 | No | Yes2 | No | No |
| SAS tape support | No | Yes1 | No | No | No | No |
| SATA DVD support | No | Yes1, 3 | No | Yes | Yes | No |
| 520-byte virtual disk support4 | Yes | Yes | Yes | Yes | Yes | Yes |
| Native 4K block device support | Yes | Yes | Yes | Yes | Yes | Yes |
| Easy Tier® function | Yes | No | Yes | No | Yes | No |
|
Note:
|
||||||






