Reattaching a leader pin in an Ultrium cartridge
Complete the steps in this section in order to reattach a leader pin in an Ultrium cartridge.
To reattach a leader pin in an Ultrium cartridge, it is necessary to have a IBM Leader Pin Reattachment Kit (P/N 18P8887) which can be ordered by calling 1-888-IBM-MEDIA. This kit contains the necessary tools to reattach the leader pin to the tape. It includes the rewind tool, which can be used to add tension to a tape if the leader pin is displaced. It is recommended that you retain the IBM Leader Pin Reattachment Kit to maintain your cartridges.
Before you begin
The first meter of tape in a Ultrium tape cartridge is leader tape. Once the leader tape has been removed there is a possibility of tape breakage. After reattaching the leader pin, transfer data from the defective tape cartridge. Do not reuse the defective tape cartridge.
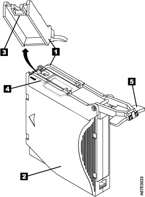
- Leader pin attach tool (see 1 in Figure 1). A plastic brace that holds the cartridge door open.
- Cartridge manual rewind tool (see 2 in Figure 1). A device that fits into the cartridge's hub and lets you wind the tape into and out of the cartridge.
- Pin supplies (see 3 in Figure 1). Leader pins and C-clips.
- Use only the IBM Leader Pin Reattachment Kit to reattach the leader pin to the tape. Other methods of reattaching the pin will damage the tape, the drive, or both.
- Use this procedure on your tape cartridge only when the leader pin detaches from the magnetic tape and you must copy the cartridge's data onto another cartridge. Destroy the damaged cartridge after you copy the data. This procedure may affect the performance of the leader pin during threading and unloading operations.
- Touch only the end of the tape. Touching the tape in an area other than the end can damage the tape's surface or edges, which may interfere with read or write reliability.

About this task
To reattach a leader pin by using the IBM Leader Pin Reattachment Kit, complete the following steps:
- Attach the leader pin attach tool (1 in Figure 2) to the cartridge 2 so
that the tool's hook 3 latches into the
cartridge's door 4. Pull the tool back
to hold the door open, then slide the tool onto the cartridge. Open
the tool's pivot arm 5.
Figure 2. Attaching the leader pin attach tool to an Ultrium tape cartridge. To hold the cartridge door open, hook the tool into the door and pull the tool back. 
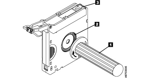
- To find the end of the tape inside the cartridge, attach the cartridge manual rewind tool (1 in Figure 3) to the cartridge's hub 2 by fitting the tool's teeth between the teeth of the hub. Turn the tool clockwise until you see the end of the tape inside the cartridge. Then, slowly turn the rewind tool counterclockwise to bring the tape edge toward the cartridge door 3.
- Continue to turn the rewind tool counterclockwise until approximately 13 cm (5 in.) of tape hangs from the cartridge door. If necessary, grasp the tape and pull gently to unwind it from the cartridge.
- Remove the rewind tool by pulling it away from the cartridge.
Set the tool and the cartridge aside.
Figure 3. Winding the tape out of the Ultrium tape cartridge. Turn the cartridge manual rewind tool clockwise to see the end of the tape, then turn it counterclockwise to bring the tape to the cartridge door. 
- On the leader pin (1 in Figure 4), locate the open side of the C-clip 2. The C-clip is a small black part that secures the tape 3 to the pin.
- Remove the C-clip from the leader pin by using your
fingers to push the clip away from the pin. Set the pin aside and
discard the clip.
Figure 4. Removing the C-clip from the leader pin. Use your fingers to push the C-clip from the leader pin. 
- Position the tape in the alignment groove of the leader pin attach tool (see 1 in Figure 2).
- Place a new C-clip into the retention groove 2 on the leader pin attachment tool and make sure that the clip's open side faces up.
- Place the leader pin (from step 6) into the cavity 3 of the leader pin attach tool.
- Attention: To prevent the leader pin from rolling into the cartridge, in the following step use care when folding the tape over the pin.
- Fold the tape over the leader pin and hold it with your fingers
(see Figure 5).Note: Use care to ensure that the tape is centered over the leader pin. Failure to properly center the tape on the pin will cause the repaired cartridge to fail. When the tape is properly centered, a 0.25-mm (0.01-in.) gap exists on both sides of the pin.
Figure 5. Attaching the leader pin to the tape 
- Close the pivot arm 4 of the leader pin attach tool by swinging it over the leader pin so that the C-clip snaps onto the pin and the tape.
- Swing the pivot arm open and trim the excess tape 5 so that it is flush with the reattached leader pin 6.
- Use your fingers to remove the leader pin from the cavity 3 in the leader pin attach tool.
- Use the cartridge manual rewind tool to wind the tape back into the cartridge (wind the tape clockwise). Ensure that the leader pin is latched by the pin-retaining spring clips on each end of the leader pin.
- Remove the rewind tool.
- Remove the leader pin attach tool by lifting its end up and away from the cartridge.